欢迎来到金站网
行业资讯行业新闻

草根网红鲍小光的春晚逆袭,为何被商标抢注绊住脚步?

来源: 发布时间:2026-01-22

商标布局不及时,
心血可能付诸东流

一、从草根网红到春晚彩排现场

       近日,一条消息引发***关注:“乡村三国”导演鲍小光受邀观看2026年春晚彩排。这位初中毕业的90后农村导演,凭借阜南方言翻拍《三国演义》,使用凉席、锅盖、粪勺等农村生活用品制作道具,邀请村里的留守老人参与拍摄。

       2021年5月至今,鲍小光团队创作了55个作品,吸引了超过85万粉丝,累计播放量达数十亿次。更值得称赞的是,他的作品带动了当地文旅品牌推广和农产品销售,成为乡村振兴的典型案例。

二、成功背后的商标危机

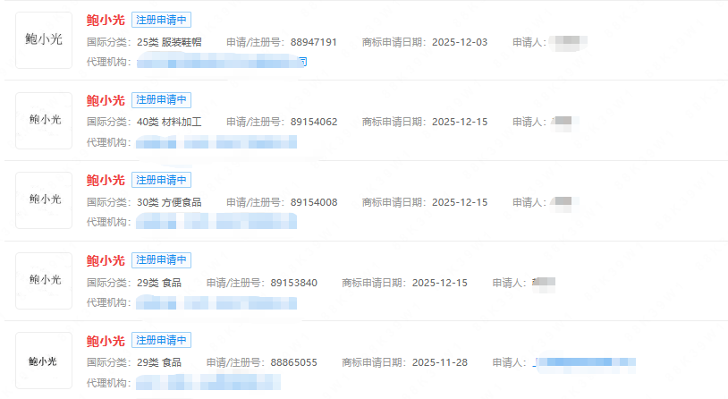
     就在鲍小光事业蒸蒸日上之际,一个潜在危机悄然浮现。据查询,“鲍小光”商标已被多家公司及自然人申请注册,这些申请集中在2025年底,国际分类包括方便食品、服装鞋帽等。

类似情况在网红圈并不少见:


  • “肥娟小吃店”走红3个月后才想起申请商标,为时已晚
  • “手工耿”等众多网红都曾面临商标困境
  • 千万粉丝网红“八戒说车”也遭遇商标抢注


三、商标抢注并非无懈可击

那么,商标被抢注后真的无能为力吗?并非如此。在特定情况下,商标抢注是无效的:

1.依据《商标法》第32条:申请商标注册“不得损害他人现有的在先权利”。如果鲍小光能证明该姓名在相关领域已具有一定**度,与其建立对应关系,可以维护自身权益。

2.依据《商标法》第44条:对于“以不正当手段取得注册”的商标,可以提起无效宣告。

四、商标布局的正确时机与策略

从鲍小光的案例中,我们总结出以下重要经验:

**商标布局时机:账号启动阶段

**防御策略:


  • 完成“核心名称+衍生名称+谐音名称”的全类别注册
  • 构建防御性商标护城河
  • 覆盖主要业务领域和潜在扩展领域


紧急应对措施:一旦发现商标被抢注,及时提起异议或无效宣告程序

五、专业建议

作为知识产权领域的专业机构,小编建议:

1.品牌未动,商标先行:在项目启动前就完成**商标的注册工作

2.***布局,防御为主:不仅要注册**类别,还要考虑相关衍生类别

3.及时监测,快速反应:建立商标监测机制,发现抢注行为立即采取法律行动

鲍小光的故事既是草根逆袭的励志案例,也是商标布局重要性的警示教材。在流量时代,品牌价值往往体现在一个名字上,提前做好商标保护,才能让创意和努力不被辜负。

【江西华谊知识产权代理有限公司为您提供专业商标布局服务,保护您的创意成果】

标签: 除甲醛 除甲醛