欢迎来到金站网
行业资讯行业新闻

弱电行业访谈实录,用T云做营销让核心竞争力增强

来源: 发布时间:2026-03-16

随着房地产市场的不断升温和科技大潮的汹涌澎湃,弱电智能化己普遍被人们所知,并且得到了极大的发展,与此同时也带热了弱电箱行业的增长。

数据来源百度指数

5G、智慧建筑、智能社区、智能家居、物联网,这是新时代的代名词,在智能化、数字化的工作、生活中,必然少不了弱电箱的存在。

数据来源百度凤巢

从搜索数据中可以看出,弱电箱的市场用户需求不小。

弱电箱行业现状

弱电箱市场大,竞品多,同质化竞争恶劣,产品价格偏低。

用T云,占领市场

项目名称:浙江光大通信设备有限公司

合作时间:5年

营销诉求:在市场上塑造企业品牌,扩大企业**度,占领更多市场。

1、客户有话说

浙江光大通信设备有限公司15年来一直专注于家庭弱电箱行业,致力于家庭无线全覆盖系统的产品开发、设计、生产、销售。

我们有实力,但限于宣传力度不够,并没有很多人知道我们。对营销推广也不懂,一开始做百度竞价,刚开始还好,后来烧钱太厉害就没再做了。

在2016年,我们开始用T云软件做营销推广,重新做了网站,客服耐心的指导操作,学了不少营销技巧,很快就上手了。

后来总结了下,整体上也就3步就可以完成操作:设定关键词,提交素材,发布设置。没多久我们的信息就在百度、360、搜狗上就都能找得到,也有不少人咨询。

用T云的AI测评时,发现公司的品牌宣传力不够,就重点使用了T云的促转化功能来曝光品牌,经操作品牌曝光度上来后,咨询量也跟着上来了,可见品牌是核心竞争力。用T云,给公司带来了很多的收获。

2、T云应用

T云SaaS级智能营销工具,全链路闭环五营销,让营销智能化、自动化、简单化,节省人力成本,提高营销效率,早用早收益。

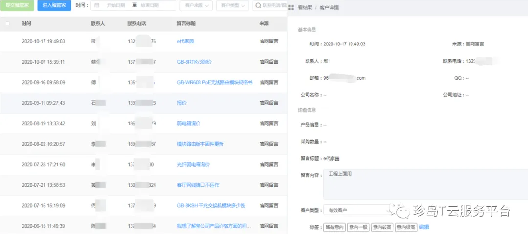
3、T云看结果

营销全过程可控,数据报表自动生成,便于查看统计、分析,及时掌握营销现状做调整。

T云营销概况

部分询盘留言


saas智能营销云平台


标签: 除甲醛 除甲醛
扩展资料